|
Call Ian at
604 YOUR KEY to view this property
Ian Brett
Phone: (604) 968-7539 ian@captainvancouver.com |
|||||||||||||||||
| Property Details | |||
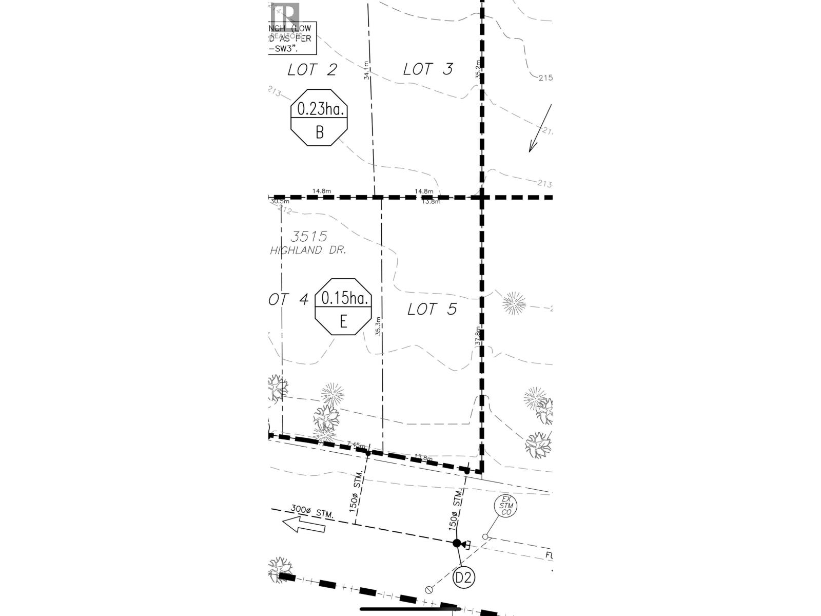
| RS 8 lot. All cleared fully serviced and ready to go. Should have a view from the main floor and top floor. Level street frontage From left to right.. Deeper lot than most could give longer depth to driveway if desired. Simple easement on Boulevard does not encumber anything for building envelopes. Property to the west is R 2 according to the city of Coquitlam. Same owner. Could be sold in a package price to a buyer that has a bigger plan. (id:5347) | |||
| Property Value: | $1,190,000 | Living Area: | 0 sq.ft. |
| Year Built: | Bedrooms: | 0 | |
| House Type: | Bathrooms: | 0 | |
| Property Type: | Vacant Land | Owner Type: | Freehold |
|
Features: Central location View: View Added to MLS: 2/3/2026 4:10:45 PM |
|||





